控制阀技术交流平台
   用户名: 密码: 登录  忘记密码  会员免费注册     加入收藏夹 控制阀-调节阀技术
基础知识  |  技术文章  |  样本下载  |  新闻中心  |  展会中心  |  产品动画  |  经营管理  |  营销知识  |  企业招聘 返回首页
供应信息  |  求购信息  |  代理加盟  |  厂商名录  |  品牌列表  |  产品中心  |  采 购 商  |  客户留言  |  工 程 师 友情链接
上海一环流体控制设备有限公司
联系方式
企业简介
产品中心
供求信息
资料下载
在线反馈
产品介绍    

ZAJQ电动调节球阀
发布厂商:上海一环
 
详细参数    

产品型号
ZAJQ电动调节球阀产品

ZAJQ电动调节球阀 技术参数和性能指标
阀体
形式:角型单座铸造阀
公称通径:20-300mm
公称形式:PN1.6 4.0 6.4Mpa
连接形式:法兰式按JB78-59 JB79-59
材料:HT200 ZG230—450 ZG1Cr18Ni9Ti ZG0Cr18Ni12Mo2Ti
阀内组件
阀芯形式: O型阀芯
流量特性: 快开型
材 料: 1Cr18Ni9Ti 0Cr17Ni12Mo2衬聚四氟乙烯
密封面材料:聚四氟乙烯、PPL、硬密封
可调动作范围: 0-90o
允许压差△P: 小于公称压力(1.6MPa)
泄漏量Q: 按AP1598标准测试 无泄漏
环境温度℃: -20~60℃
基本误差: ±2.5%
回差: ±2.5%
死区: 1%
执行机构
可选PSQ、DTR和3810系列电子式角行程执行机构。防爆型选用3810系列。
技术参数和性能:请参阅相应执行机构与阀门定位器说明书。

ZAJQ电动调节球阀订货须知
1.产品型号与名称
2.公称通径DN(mm)
3.公称压力
4.流量特性
5.阀体材质
6.额定流量系数
7.介质种类和温度范围
8.阀前后压力(压差)
9.电源电压和控制信号
10.其它特殊要求

ZAJQ电动调节球阀 适用范围该电动调节阀适用于城建、化工、冶金、石油、制药、食品、饮料、环保

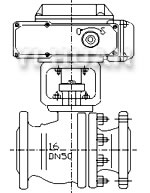
ZAJQ电动调节球阀 结构
 


ZAJQ电动调节球阀结构结构图

三片式ZAJQ电动调节丝扣式球阀外形尺寸



超短型ZAJQ电动调节对夹式球阀外形尺寸

ZAJQ电动调节球阀 规格参数
 


公称通径DN
15 20 25 32 40 50 65 80 100 125 150 200 250 300
流量系数(Kv) 20 38 72 110 170 215 380 550 890 1400 2000 3580 5650 8100
可调动作范围 0-90o
允许压差△P 小于公称压力(1.6MPa)
泄漏量Q 按AP1598标准测试 无泄漏
环境温度℃ -20~60℃
基本误差 ±2.5
回差 ±2.5
死区 1
可调范围 250:1 350:1
配用执行机构 PSQ101, 381RSA-05DTR-05 DTR-10 PSQ201, DTR-20381RSC-30 DTR-40381RSC-50 PSQ701DTR-60


ZAJQ电动调节球阀 理想流量特性表

 


公称通径(DN)
不同开度角下的Kv值
温度 10° 20° 30° 40o 50o 60o 70o 80o 90o
50 2 4 9 17 32 60 97 151 215
80 6 11 22 44 83 155 250 389 550
100 9 18 35 71 133 248 398 620 890
150 20 40 8/0 160 300 560 900 1400 2000
200 36 72 143 286 737 1002 1611 2506 3580
250 57 113 226 453 848 1582 2543 3955 5650
300 81 163 325 651 1220 2278 3661 5695 8100


ZAJQ电动调节球阀 外形尺寸
 


公称通径DN
L D H L1 D1 b Z-?d H1 L2
压力 1.6/2.5/4.0 1.6/2.5/4.0     1.6/2.5/4.0 1.6/2.5/4.0 1.6/2.5/4.0    
15 130/130/130 95 275 157 65 14/16/16 4-14 48 208
20 140/140/140 105 280 157 75 14/16/16 4-14 53 208
25 150/150/150 115 287 157 85 14/16/16 4-14 58 208
32 165/165/180 135 384 208 100 16/18/18 4-18 68 208
40 180/180/200 145 312 208 110 16/18/18 4-18 73 208
50 200/200/220 160 325 208 125 16/20/20 4-18 80 208
65 220/220/250 180 335 256 145 18/22/22 4-18/8-18/8-18 90 256
80 250/250/280 195 365 256 160 20/22/22 8-18 98 256
100 280/280/320 215/230/230 400 256 180/190/190 20/24/24 8-18/8-23/8-23 120 256
125 320/320/400 245/270/270 420 256 210/220/220 24/28/30 8-23/8-25/8-25 140 256
150 360/360/400 280/300/300 440 256 240/250/250 24/28/30 8-23/8-25/8-25 167 256
200 400/400/550 335/360/375 470 256 295/310/320 26/34/38 12-23/12-25/12-30 210 256
250 630 750 405 470 545 380          
300 750 870 460 530 580 380          


超短型ZAJQ电动调节对夹式球阀 外形尺寸
 

公称通径DN L H D D1 D2 b f L1 Z-?d
15 35 275 90 65 45 14/16 2 157 4-12
20 38 280 100 75 55 14/16 2 157 4-12
25 42 287 110 85 65 14/16 2 157 4-12
32 50 297 130 100 78 16/18 2 208 4-16
40 60 312 145 110 85 16/18 3 208 4-16
50 70 325 160 125 100 16/20 3 256 4/8-16
65 95 335 180 145 120 18/22 3 256 4/8-16
80 118 365 190 160 135 20/22 6 256 8-16
100 140 400 215/230 210/220 155/160 20/28 3 256 8-16/20
125 175/195 420 245/270 210/220 185/188 24/28 3 256 8-16/24
150 210/260 440 280/300 240/218 210/218 24/28 3 256 8-20/24


注:表中数据XX/XX表示压力:1.6MPa/2.5MPa

三片式ZAJQ电动调节丝扣式球阀 外形尺寸
公称通径DN G L H L1
15 1/2” 75 275 157
20 3/4” 80 280 157
25 1” 90 287 157
32 1 1/4” 40 297 208
40 1 1/2” 120 312 208
50 2” 140 325 208

ZAJQ电动调节球阀型号编制说明


Z
A J Q 9 41 F 25 C G
自控阀门 执行机构类型: 位移特征: 阀门代号: 传动方式: 连接形式: 密封面材料: 公称压力: 阀体材质: 温度类型:
  D:表示PS系列 J:角行程 Q:表示球阀 9表示电动 41:表示法兰 F:表示四氟乙稀 16:表示1.6MPa C:表示碳钢 G:表示中温型
  R:表示3810系列 S:直行程 D:表示碟阀 6:表示气动 11:表示丝扣 H:表示金属硬密封 25:表示2.5MPa P:表示不锈钢 常温省略
  A:YHR系列   V:表示V形球阀   71:表示对夹式   40:表示4.0MPa S:表示塑料  
              64:表示6.4MPa F46:表示阀体衬四氟  

以下带有*号项为必填项      
反馈标题: *
您的姓名: *
公司名称:
联系方式: *
电子邮件:
反馈内容:
                  
关于chinacvw.com | 网站地图 | 诚聘英才 | 法律申明 | 隐私声明 | 友情链接 | 联系我们
客服热线:086-21-51028626 E-mail:Web@chinacvw.com 在线客服 :   展会合作:   售前咨询:  控制阀网QQ交流群:控制阀-调节阀技术
泵阀产品采购 泵阀产品推广
控制阀网 版权所有 2023 上海鸿脉信息技术有限公司 沪ICP备08026076号-5
免责声明:本网所展示的信息由企业自行提供,内容的真实性、准确性和合法性由发布企业负责。本公司对此不承担任何保证责任。
               如因内容、版权问题需本网停止转载的,请在本网发表之日起30日内联系,我们将在第一时间停止转载,否则视为放弃相关权利。