产品型号
ZJHF衬氟塑料气动波纹管调节阀产品
衬氟塑料气动波纹管调节阀主要特点
ZJHF衬氟塑气动波纹管调节阀是一种防腐蚀直通单座气动调节阀,与流体接触的阀体内壁和阀内组件都衬F46的防腐材料,阀内装有波纹管组件,阀芯顶端与聚四氟乙烯的波纹管上端密封连接,波纹管下端与阀体、上阀盖、支座用螺栓螺母密封连拉,这样波纹管把介质与外界腐蚀隔绝,保证阀芯上下动作灵活。上海一环制造的衬氟塑气动波纹管调节阀几乎能抗所有化学介质的腐蚀,密封性优良,一旦波纹管损坏,调节阀填料可起第二道保护性密封,故适用于剧毒、强腐蚀、易挥发、易渗透介质的调节切断控制。
衬氟塑料气动波纹管调节阀技术参数和性能指标
阀体:WCB、ZG230-450衬F46(FEP)、不锈钢衬46(FEP)
阀座、阀芯:F46、哈氏合金、A蒙乃尔合金
波纹管:F4(PTFE)、哈氏合金
填料:F4、柔性石墨
膜盖:SPHC钢板
弹簧:60Si2Mn
衬氟塑料气动波纹管调节阀适用范围城建、化工、冶金、石油、制药、食品、饮料、环保
衬氟塑料气动波纹管调节阀结构

衬氟塑料气动波纹管调节阀 结构图
衬氟塑料气动波纹管调节阀 详细技术系数
| 公称通径mm |
G3/4〞 |
20 |
25 |
32 |
40 |
50 |
65 |
80 |
100 |
125 |
150 |
200 |
| 阀座直径mm |
3 |
4 |
5 |
6 |
7 |
8 |
10 |
15 |
20 |
26 |
32 |
40 |
50 |
65 |
80 |
100 |
125 |
150 |
200 |
| 额定流量系数Kv |
0.08 |
0.12 |
0.2 |
0.32 |
0.5 |
0.8 |
1.2 |
3.2 |
5 |
8 |
12 |
20 |
32 |
50 |
80 |
120 |
200 |
280 |
450 |
| 公称压力Mpa |
1.0 1.6 |
| 流量特性 |
直线 |
直线;等百分比 |
| 有效面积cm2 |
280 |
400 |
630 |
1000 |
| 行程mm |
10 |
16 |
25 |
40 |
60 |
| 弹簧范围KP |
20~100、40~200、80~240 ;段幅:20~60、60~100 |
| 可调比 |
R=30:1 |
| 介质温度℃ |
-20~+150 |
| 基本误差% |
带定位 |
±2.0 |
不带定位 |
±10 |
| 回差% |
±1.5 |
±8 |
| 死区% |
±1.5 |
±6 |
| 始终点偏差% |
±2.0 |
±10 |
| 额定行程偏差% |
±2.5 |
| 允许泄漏量L/h |
10-5×阀额定容量 |
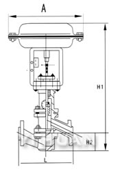
衬氟塑料气动波纹管调节阀 外形尺寸
| 公称通径DN |
G3/4〞 |
20 |
25 |
32 |
40 |
50 |
65 |
80 |
100 |
125 |
150 |
200 |
| L |
120 |
180 |
185 |
200 |
220 |
250 |
275 |
300 |
350 |
425 |
460 |
560 |
| H1 |
453 |
460 |
517 |
529 |
594 |
624 |
824 |
834 |
20848 |
902 |
920 |
1020 |
| H2 |
50 |
65 |
70 |
80 |
79 |
85 |
100 |
114 |
162 |
200 |
240 |
300 |
| A |
282 |
360 |
470 |
|