产品名称:气动薄膜衬氟调节阀
产品型号:ZJHP-16F46
气动薄膜衬氟调节阀原理
气动薄膜衬四氟单座调节阀,是自控仪表中的执行单元。它由气动薄膜执行机构和直通单座衬氟塑阀两部份组成。由于该阀接触介质的部位均采用高压注塑工艺,衬有能耐腐蚀、耐老化的聚全氟乙丙烯(简称F46),又采用聚四氟乙烯波纹管密封,因而该阀广泛适用于化工、石油、冶金、医药、电力等行业中对酸、碱强腐蚀介质和有毒、易挥发等气体、液体介质的过程控制。
气动薄膜衬氟调节阀特点
1.耐腐蚀:阀体内腔、阀芯、阀座、阀杆均316不锈钢,能耐酸、碱,耐强腐蚀。
2.密封性能好:采用聚四乙烯材质的波纹管和填料双重密封,确保无渗漏。
3.泄漏量小:由于阀芯、阀座是软密封,故泄漏量低于国家IV级标准。
4.采用轻小型多弹簧执行机构,体积小,重量轻,调节精度高。
气动薄膜衬氟调节阀阀体参数
| 零件名称 |
材料 |
零件名称 |
材料 |
| 阀体 |
ZG25衬F46(FEP) |
波纹管 |
F4(PTFE) |
| 阀芯 |
2Cr13衬F46(FEP) |
| 哈氏合金、蒙乃尔 |
填料 |
F4(PTFE) |
| 阀座 |
2Cr13衬F46(FEP) |
柔性石墨 |
气动薄膜衬氟调节阀性能指标
| 项目 |
性能指标 |
| 基本误差% |
≤±8 |
| 回差% |
≤8 |
| 死区% |
≤6 |
| 额定流量系数误差 |
≤±10%(Kv≤5时±15%) |
| 泄漏量 |
≤0.01%阀额定容量 |
气动薄膜衬氟调节阀型号参数
| 公称通径 |
G3/ 4’ ’ |
20 |
25 |
32 |
40 |
50 |
65 |
80 |
100 |
150 |
| 阀座直径 |
3 |
4 |
5 |
6 |
7 |
8 |
10 |
12 |
15 |
20 |
26 |
32 |
40 |
50 |
65 |
80 |
100 |
150 |
| 流量系数KV |
0.08 |
1.12 |
0.20 |
.032 |
0.50 |
0.80 |
1.2 |
2 |
3.2 |
5 |
8 |
12 |
20 |
32 |
50 |
70 |
100 |
240 |
| 流量特性 |
直线 |
直线\等百分比 |
| 公称压力 |
1.0 1.6 |
| 配用 执行 机构 |
型号 |
ZHA-22 |
ZHA-23 |
ZHA-34 |
ZHA-45 |
| 有效面积cm |
200 |
280 |
400 |
630 |
1000 |
| 工作行程mm |
10 |
10 |
16 |
25 |
40 |
60 |
| 弹簧范围KPa |
20-100 40-200 |
| 作用方式 |
气关式或气开式 |
| 工作温度 |
-30~ 200℃ |
| 固有可调比R |
30:1 |

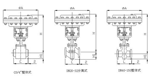
气动薄膜衬氟调节阀连接尺寸
| 公称通径 |
3/4″ |
20 |
25 |
32 |
40 |
50 |
65 |
80 |
100 |
150 |
| L |
116 |
180 |
185 |
200 |
220 |
250 |
275 |
300 |
350 |
480 |
| A |
245 |
245 |
245 |
245 |
290 |
290 |
362 |
362 |
362 |
454 |
| H |
401 |
445 |
485 |
495 |
523 |
532 |
697 |
699 |
699 |
817 |
| H1 |
50 |
65 |
70 |
80 |
71 |
88 |
102 |
140 |
170 |
190 |
| 重量 |
17 |
17 |
19 |
21 |
28 |
31.5 |
54 |
64 |
80 |
120 |
|