
□型号说明
结构形式
(型号) |
结 果 |
功 能 |
a |
一只常开干簧(上位)
一只常闭干簧(下位) |
高水位开泵
低水位停泵 |
b |
一只常开干簧(上位)
一只常闭干簧(下位) |
高水位开泵
低水位停泵 |
c |
一只常开干簧管(上位)
一只常闭干簧管(下位) |
自动控制 |
d |
三只常开干簧
一只常闭干簧 |
用于上、下位液位控制和高低极限液位报警 |
e |
一只常开干簧
三只常闭干簧 |
用于上、下位液位控制和高低极限液位报警 |
f |
四只常开干簧管 |
自动控制 |
□主要技术指标
1、测量范围
G型(不锈钢)≤4m,(4m以上协商解决)
F型(氟塑料)≤4m
2、被测介质温度
国产干簧管-10℃~+80℃,进口干簧管-10℃~+120℃
3、被测介质比重:>0.7g/cm3
4、工作压力:≤1.6MPa
5、干簧管触点容量:220VAC,1A
□工作原理
在控制器中装若干只GAG-5型大功率干簧管,当装有磁钢的浮球随液位上、下时干簧管的触点随着发生动作,从而达到控制液位的目的。可驱动泵对液位进行全自动控制。
□安装和接线
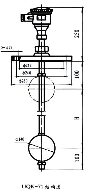
1、法兰安装G-法兰标准HG20592-97DN150、PN1.6(其它法兰标准协商解决)螺纹安装螺纹尺寸M30×2
2、传感器与显示仪之间的联接线不能与交流电源同路敷设,因为感应交流电有可能会影响仪表,同时为了避免干扰信号,尽可能使用屏蔽电缆在铁管内敷设。
3、传感器装在被测容器上,其安装方法见图二,传感器下端最好与容器底部固定牢。
4、由于受铁路运输的限制,大于4m以上采取分段装箱,安装时由用户自行焊接,焊接后段将焊缝锉平正,并做好水压试验(压力小于0.6MPa)确定不漏方可使用,F型的传感器还须将随箱来的氟塑料套管套上并固定;或用户自行解决运输问题。
□订货须知
1、写明传感器的规格、型号、数量
2、写明传感器的材质、测量点L1、L2……L3的具体位置及传感器总长,应提供L1、L2……L3触点形式(常开或常闭),如不确定则以常开触点生产。
3、传感器在安装前须进行检查,用万用表棒接在传感器接线端子,当浮球上下移动时,相应地使干簧管动作。
|