ZJ(M)HF(H) 气动三通分流(合流)调节阀概述
ZJ(M)HF(H) 气动三通分流(合流)调节阀是由电动执行机构或气动执行机构和三通阀组成,调节阀有合流与分流两种作用方式,在某些场合可以代替两个二通阀和一个三通阀接管而得到广泛运用。实现对压力、流量、温度、液位等参数的调节,阀芯结构采用圆筒薄壁窗口,并采用阀芯侧面导向,稳定性好、不易产生震动、噪声低、允许使用压差大,连线简单等特点常用于热交换器的两相调节,也可用于简单的配比调节。公称通径和压差较小时,合流阀可用于分流场合,可互换使用,但公称通径大于80mm和压差较大的分流场合,不能互换使用。
技术参数及性能:
| 阀体部分 |
|
| 阀体型式: |
三通铸造阀 |
| 公称通径: |
DN25 、32 、40 、50 、65 、80 、100 、200 、250、300 |
| 公称压力: |
PN 1.6、2.5、4.0、6.4、10Mpa |
| |
ANSI 150、300、 600Lb |
| |
JIS 10K、20K、30K |
| 连接方式: |
法兰 FF、RF、RTJ、等 |
| |
焊接:SW、BW |
| 法 兰 距: |
符合IEC 534 |
| 阀盖形式: |
标准型、加长型(散热、低温、波纹管密封) |
| 填 料: |
V型聚四氟乙烯、柔性石墨填料等 |
| 密 封 垫: |
金属夹石墨密封垫 |
| 执行机构: |
气动:多弹簧执行机构 、单弹簧执行机构 |
| |
电动: 3810L 系列 、PSL系列 |
| 阀内部件 |
|
| 阀芯型式: |
双导向双座套筒型阀芯 |
| 流量特性: |
等百分比、线性 、快开 |
| 内件材质: |
标准材质组合及使用温度、压力范围请参阅附录 |
表1.可提供的用户选择
| 阀体 |
型式 |
直通 |
阀盖 |
型式 |
标准、加长型 |
| 材质 |
WCB、WC9、CF8、CF 8M 等 |
材质 |
WCB、WC9、CF8、CF 8M |
| 阀芯 |
特性 |
直线、等百分比、快开 |
填料 |
“V”型PTFE、柔性石墨、波纹管 |
| 材质 |
304、304+STL/PTFE、316、316+STL/PTFE |
| 执行器 |
气动:见表5 |
| 电动:见表5 |
| 定位器 |
电气阀门定位器、智能型数字定位器 |
| 附件 |
电磁阀、阀位反馈器、手操机构、保位阀、空气过滤减压器等 |
图1结构性能特点

三通分流阀 |

三通合流阀 |
三通阀由于有两个通道,一个通道开启时则另一个通道关闭,所有作用方式无气开气闭之说,订购三通阀时,一定要说明要合流还是分流,气动的得说明气室压力增加时,主通道流量增大还是减小。
表2.主要性能参数
| 公称通径DN |
25 |
32 |
40 |
50 |
65 |
80 |
100 |
125 |
150 |
200 |
250 |
300 |
| 阀座直径dn (mm) |
25 |
32 |
40 |
50 |
65 |
80 |
100 |
125 |
150 |
200 |
250 |
300 |
| 额定流量系数Kv |
合流 |
8.5 |
13 |
21 |
34 |
53 |
85 |
135 |
210 |
340 |
535 |
800 |
1280 |
| 分流 |
8.5 |
13 |
21 |
34 |
53 |
85 |
135 |
210 |
340 |
535 |
800 |
1280 |
| 行程mm |
16 |
25 |
40 |
60 |
100 |
| 允许压差△MPa |
≤公称压力MPa |
| 基本误差% |
±2.5 |
| 回差% |
2.5 |
| 死区% |
1.0 |
| 始终点偏差% |
±2.5 |
| 额定行程偏差% |
2.5 |
| 允许泄漏量Q |
Kv值的0.05% |
| 可调范围 |
30:1 |
| |
|
|
|
|
|
|
|
|
|
|
|
|
|
|
表3.允许压差值:气动三通薄膜合流阀
| 执行机构 |
供气压力MPa |
弹簧范围MPa |
定位器 |
允许压差(MPa) |
| 阀座直径(mm) |
| 20 |
25 |
40 |
50 |
65 |
80 |
100 |
125 |
150 |
| ZH-23 |
0.14 |
0.02~0.10 |
有 |
0.79 |
0.49 |
0.33 |
0.20 |
0.12 |
0.09 |
0.05 |
- |
- |
| 0.35 |
0.08~0.24 |
0.041.6 |
3.50.99 |
2.3(0.67) |
1.40.39 |
0.86(0.24) |
0.62(0.18) |
0.34(0.10) |
- |
- |
| HA34 |
0.14 |
0.02~0.10 |
- |
- |
0.59 |
0.35 |
0.22 |
0.16 |
0.09 |
0.05 |
0.04 |
| 0.35 |
0.08~0.24 |
- |
- |
4.0(1.2) |
2.50.71 |
1.53(0.43) |
1.1(0.31) |
0.02(0.18) |
0.30(0.10) |
0.27(0.08) |
| HA45 |
0.14 |
0.02~0.10 |
- |
- |
- |
- |
0.37 |
0.26 |
0.15 |
0.10 |
0.06 |
| 0.35 |
0.08~0.24 |
- |
- |
- |
- |
2.7(0.76) |
1.9(0.54) |
1.07(0.30) |
0.69(0.20) |
0.47(0.13) |
表4.允许压差值:气动三通薄膜分流阀
| 执行机构 |
供气压力 |
弹簧范围 |
定位器 |
允许压差(MPa) |
| 阀座直径(mm) |
| 80 |
100 |
125 |
150 |
| ZH-23 |
0.14 |
0.02~0.10 |
有 |
0.09 |
0.05 |
- |
- |
| 0.35 |
0.08~0.24 |
有 |
0.62 |
0.34 |
- |
- |
| HA34 |
0.14 |
0.02~0.10 |
有 |
0.16 |
0.09 |
0.05 |
0.04 |
| 0.35 |
0.08~0.24 |
有 |
1.1 |
0.62 |
0.39 |
0.27 |
| HA45 |
0.14 |
0.02~0.10 |
有 |
0.26 |
0.15 |
0.10 |
0.06 |
| 0.35 |
0.08~0.24 |
有 |
1.9 |
1.07 |
0.69 |
0.47 |
备注:①上面数字为分流场合压差,其余为合、分流相同
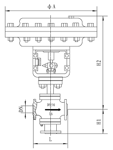
表5.外型尺寸图

| |
| 公称通径DN |
合流(ZJHH) |
分流(ZJHF) |
| A |
L |
H2 |
H1 |
L |
H2 |
H1 |
| PN(MPa) |
PN(MPa) |
PN(MPa) |
PN(MPa) |
| 1.6 |
4.0 |
6.4 |
常温 |
中温 |
1.6 |
4.0 |
6.4 |
1.6 |
4.0 |
6.4 |
常温 |
中温 |
1.6 |
4.0 |
6.4 |
| 25 |
285 |
185 |
190 |
200 |
615 |
763 |
140 |
150 |
160 |
185 |
190 |
200 |
615 |
763 |
140 |
150 |
160 |
| 32 |
285 |
200 |
200 |
210 |
622 |
773 |
150 |
160 |
170 |
200 |
200 |
210 |
622 |
773 |
150 |
160 |
170 |
| 40 |
285 |
220 |
220 |
235 |
625 |
776 |
160 |
170 |
180 |
220 |
220 |
235 |
625 |
776 |
160 |
170 |
180 |
| 50 |
285 |
250 |
255 |
265 |
640 |
791 |
180 |
190 |
200 |
250 |
255 |
265 |
640 |
791 |
180 |
190 |
200 |
| 65 |
360 |
275 |
285 |
295 |
861 |
1024 |
200 |
210 |
220 |
275 |
285 |
295 |
861 |
1024 |
200 |
210 |
220 |
| 80 |
360 |
300 |
310 |
320 |
879 |
1042 |
210 |
230 |
240 |
300 |
310 |
320 |
885 |
1050 |
225 |
250 |
265 |
| 100 |
360 |
350 |
360 |
370 |
873 |
1036 |
220 |
250 |
260 |
350 |
360 |
370 |
900 |
1060 |
245 |
275 |
285 |
| 125 |
470 |
410 |
430 |
440 |
1029 |
1244 |
260 |
300 |
300 |
410 |
425 |
440 |
1050 |
1265 |
285 |
320 |
325 |
| 150 |
470 |
450 |
465 |
475 |
1046 |
1261 |
280 |
320 |
320 |
450 |
460 |
475 |
1060 |
1275 |
305 |
340 |
345 |
| 200 |
470 |
550 |
560 |
570 |
1075 |
1290 |
320 |
380 |
380 |
550 |
560 |
570 |
1105 |
1320 |
350 |
400 |
410 |
| 250 |
600 |
635 |
660 |
670 |
1451 |
1641 |
340 |
474 |
474 |
635 |
660 |
670 |
1505 |
2800 |
340 |
474 |
474 |
| 300 |
600 |
720 |
740 |
770 |
1512 |
1760 |
380 |
584 |
584 |
720 |
740 |
770 |
1545 |
1820 |
380 |
584 |
584 |
|