|
 |
|
|
|
|
|
|
|
|
|

一、外形尺寸和连接尺寸
|
型号
|
公称通径
|
尺寸(mm)
|
|
L
|
D
|
D1
|
D2
|
b-f
|
z-Φd
|
H
|
Do
|
|
PF.QP45M-16
|
25
|
140
|
105
|
65
|
45
|
14-2
|
4-14
|
106
|
150
|
|
32
|
180
|
135
|
100
|
78
|
18-2
|
4-18
|
140
|
180
|
|
40
|
232
|
145
|
110
|
85
|
20-3
|
4-18
|
155
|
250
|
|
50
|
250
|
160
|
125
|
100
|
20-3
|
4-18
|
175
|
300
|
|
PF.QP45M-25Q
|
25
|
140
|
105
|
65
|
45
|
14-2
|
4-14
|
105
|
150
|
|
32
|
180
|
135
|
100
|
78
|
18-2
|
4-18
|
140
|
180
|
|
40
|
232
|
145
|
110
|
85
|
20-3
|
4-18
|
155
|
250
|
|
50
|
250
|
160
|
125
|
100
|
20-3
|
4-18
|
175
|
300
|
二、气动执行器工作原理

三、开关式
 |
选择控制方式
双作用气动执行器:常闭式(气开),常开式(气关)
单作用气动执行器:常闭式(气开),常开式(气关)
选择控制附件
单控或双控电磁阀(AC220V、110V、DC24V)
阀位开关信号返回装置(回讯器)
气源外理三联件(减压阀、过滤器、油雾器)
特殊使用环境(易燃易爆场合)可选防爆型 |
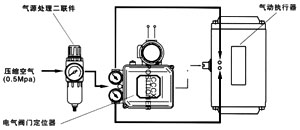
四、调节式
 |
选择控制方式
电信号:4~20mA
气源处理二联件(减压阀、过滤器)
特殊使用环境(易燃易爆场合)可选防爆型
注:气动阀门根据不同的使用介质、阀门的扭矩及控制方式,其适配的执行器型号可能有所不同,相关尺寸有所变化。特殊应急场合还可加装手动装置。 |
|
|